12 月 9 日消息,科技媒体 Windows Latest 昨日(12 月 8 日)发布博文,报道称微软获批名为“入耳式身份验证(In-Ear Authentication)”的新专利,有望通过耳机实现高精度的生物识别。
与传统耳机仅作为音频输出设备不同,该专利描述设备试图解决“如何证明佩戴者是用户本人”这一难题。微软在专利文件中将其描述为“生物识别认证与个性化耳塞”,通过耳机内部的传感器静默地完成身份核验,从而防止设备被盗用,并提升使用便捷性。

图源:微软
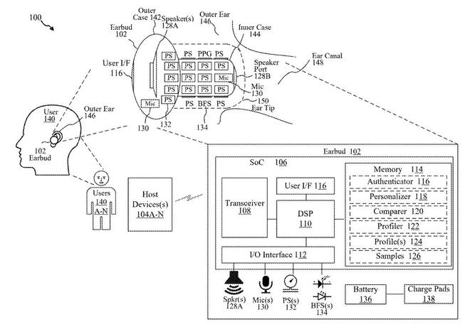
该专利的核心在于利用人体耳部独特的生理结构进行验证。IT之家援引博文介绍,微软为此在耳机中集成了三类关键传感器:
首先是压力传感器阵列,用于捕捉耳道及外耳对耳机造成的独特压力模式;
其次是心率相关传感器,通过监测耳道内的血容量变化来获取独特的血液流动特征;
最后是声学响应分析,即利用声音在耳道内的反射情况来辅助验证。系统会将这些实时采集的数据与预存的“授权用户生物特征档案”进行比对,从而确认身份。
在实际体验过程中,当用户从充电盒中取出耳机并佩戴后,设备会立即启动验证流程。一旦确认为本人,耳机不仅能自动连接至 Windows 11、智能手机或服务器等主机设备,还能根据用户偏好瞬间切换个性化音频配置。

虽然专利未明确提及“Windows Hello”,但这种基于内耳特征的验证方式,理论上完全可以替代人脸、指纹或 PIN 码,成为解锁电脑的新途径。

目前市面上的 Apple AirPods 或 Galaxy Buds 仅具备基础的“入耳检测”功能,即只能判断耳机是否被佩戴,而无法识别“是谁在佩戴”。微软的这项专利若能通过 Surface 系列硬件落地,将在可穿戴设备领域形成显著的技术壁垒。

编辑:齐少恒
相关热词搜索: